
世界卫生组织资料显示,2016年肺炎造成92万5岁以下儿童死亡,其中98%来自发展中国家。肺炎也是当前我国5岁以下儿童死亡的主要原因之一,其中绝大部分儿童肺炎为社区获得性肺炎(Community?Acquired?Pneumonia?,CAP)。社区获得性肺炎中的重症难治性支原体肺炎和腺病毒肺炎等遗留的气道闭塞,是造成儿童患慢性气道疾病、影响生命质量的重要原因。近年来,我国CAP诊疗水平有了长足进步,但在一些地方、一些医疗机构还存在抗生素应用不尽合理、检查方法选择缺乏针对性等问题。鉴于此,国家卫生健康委、国家中医药局组织各相关学科专家,结合我国国情,制定了《儿童社区获得性肺炎诊疗规范(2019年版)》,进一步提高诊疗规范化水平,重点聚焦重症CAP的诊断和高危因素识别,经验性和目标治疗等,以期降低病死率和后遗症发生率。
一、简介
本规范中CAP的定义是指在医院外(社区)发病的感染性肺炎,包括在医院外(社区)感染了具有明确潜伏期的病原体而在入院后发病的肺炎。
CAP为肺实质和(或)肺间质部位的急性感染,引起机体不同程度缺氧和感染症状,通常有发热、咳嗽、呼吸增快、肺部湿性啰音等表现,并有胸部X线片(以下简称胸片)的异常改变。本规范中CAP不包括吸入性以及过敏性等非感染性肺炎。
由于新生儿病原体及临床表现的特殊性,本规范仅针对生后29天到18岁以下儿童的CAP。我国幅员辽阔,地域、经济、文化以及卫生环境等存在较大差异,因此本规范仅为总体原则。
二、主要病原谱和耐药现状
(一)主要病原谱。
1.呼吸道病毒。呼吸道病毒是婴幼儿乃至学龄前期CAP的常见病原。常见的呼吸道病毒包括呼吸道合胞病毒、流感病毒、腺病毒、副流感病毒和鼻病毒等。新发病毒有人类偏肺病毒、博卡病毒、新型冠状病毒、人禽流感病毒等。其他如巨细胞病毒等疱疹类病毒以及肠道病毒等偶可引起CAP。
2.细菌。常见革兰阳性细菌包括:肺炎链球菌(Streptococcus?pneumoniae,?SP)、金黄色葡萄球菌(Staphylococcus?aureus,SA)、A群链球菌(Group?A?streptococcus,GAS)等;常见革兰阴性细菌包括:流感嗜血杆菌(Haemophilus?influenzae,Hi)、卡他莫拉菌(Moraxella?catarrhalis,MC)、大肠埃希菌(Escherichia?coli,E.coli)、肺炎克雷伯菌(Klebsiella?pneumoniae,KP)、铜绿假单胞菌(Pseudomonas?aeruginosa)等。其中SP是生后20天至儿童期各年龄段CAP最常见的病原,也是重症肺炎和坏死性肺炎的最常见病原。SA多感染婴幼儿,分甲氧西林敏感金黄色葡萄球菌(Methicillin-sensitive?staphylococcus?aureus,MSSA)和耐甲氧西林金黄色葡萄球菌(Methicillin-?resistant?staphylococcus?aureus,MRSA),MSSA和MRSA均可引起重症肺炎或坏死性肺炎,我国也有儿童社区获得性MRSA(CA-MRSA)肺炎报道,该菌感染病死率较高。GAS肺炎多为重症肺炎或坏死性肺炎。Hi肺炎多见于5岁以下儿童,MC肺炎多见于婴幼儿,一般不引起重症CAP。E.coli和KP虽不是CAP的常见病原,但可引起重症肺炎,多见于婴儿,或有慢性吸入、先天性心脏病、气道畸形、免疫功能低下、重症病毒感染等基础疾病者。
3.非典型微生物。肺炎支原体(Mycoplasma?pneumoniae,MP)不仅是学龄前期和学龄期儿童CAP的常见病原,近年来在1~3岁婴幼儿亦不少见。肺炎衣原体(Chlamydia?penumoniae,CP)多见于学龄期和青少年,但在我国肺炎衣原体独立引起的肺炎较少报道。沙眼衣原体(Chlamydia?trachomatis)多感染6个月尤其是3个月以内的婴儿。嗜肺军团菌(Legionella?pneumophila,?LP)虽不常见,但其可能是重症CAP的独立病原或混合病原之一。
4.混合感染。儿童CAP可由混合感染所致,年龄越小,越易发生。
(二)常见细菌耐药情况简介
1.肺炎链球菌。对不同种类抗菌药物表现出不同程度的耐药。其中,红霉素、克林霉素和四环素的耐药率最高,在90%以上,复方新诺明的耐药超过70%。青霉素耐药的肺炎链球菌(Penicillin-resistant?Streptococcus?pneumonia,?PRSP)?低于10%(非脑膜炎青霉素注射标准),青霉素中介的肺炎链球菌(Penicillin-intermediate?Streptococcus?pneumonia,?PISP)高于20%,在某些医院对头孢菌素类和美罗培南的耐药率高于青霉素。对氟喹诺酮类药物敏感率超过98%,未发现对万古霉素和利奈唑胺耐药的菌株。
2.金黄色葡萄球菌。对青霉素的耐药率高于90%,对替考拉宁、万古霉素和利奈唑胺100%敏感。MRSA的分离率在逐年上升,目前总体接近30%。
3.流感嗜血杆菌。氨苄西林耐药率高达60%以上,其中产β-内酰胺酶菌株超过90%。对头孢克洛的不敏感率高于头孢呋辛,阿莫西林/克拉维酸或氨苄西林/舒巴坦敏感率高,头孢曲松和美罗培南100%敏感。对β-内酰胺类以外的抗菌药物如复方新诺明耐药率最高,阿奇霉素的耐药菌株在不断增多,已超过30%。
4.大肠埃希菌和肺炎克雷伯菌。对头孢曲松和头孢噻肟的耐药率高于头孢他啶。目前耐亚胺培南和/或美罗培南的大肠埃希菌和肺炎克雷伯菌在逐年增多,肺炎克雷伯菌对碳青霉烯类抗生素的耐药性明显高于大肠埃希菌。耐药性最低的是阿米卡星,其次为氟喹诺酮类药物。
三、诊治思路
(一)确定是否为感染性肺炎。在诊断感染性肺炎之前以及治疗反应不佳时,需要除外非感染性肺部疾病和气道疾病等。
(二)判断病情轻重和重症高危因素。重症肺炎病死率高,应在首诊和整个治疗过程中动态评估病情轻重和重症高危因素,以及时优先处理重症病例。
(三)经验性治疗。初始合理的经验性治疗对于降低病死率和减少后遗症的发生至关重要,应根据年龄、发病季节、流行病学、临床和影像学表现、病情严重度、有无基础疾病以及实验室检查结果等分析可能的病原,制定合理的治疗方案。
(四)目标治疗。一旦病原体明确,应及时调整为目标治疗,以降低病死率和后遗症的发生,减少抗生素不合理使用,降低医疗费用。
四、诊断和鉴别诊断
(一)诊断
1.症状。发热、咳嗽、喘息是CAP最常见的症状,病毒性肺炎常出现喘息。年长儿可有胸痛,咯血少见。小于2月龄的婴儿可无发热,表现为吐沫、屏气(呼吸暂停)或呛咳。持续发热伴咳嗽超过3~5天,应警惕肺炎的可能。
2.体征。呼吸增快和湿性啰音提示肺炎,尤其是婴幼儿,支原体肺炎多无啰音。呼吸频率(respiratory?rate,RR)增快标准:平静时观察1分钟:小于2月龄≥60次/分;2月龄~1岁≥50次/分;1岁~5岁≥40次/分;5岁以上≥30次/分。随着病情加重,出现呼吸浅快、胸壁吸气性凹陷、鼻扇、三凹征、呻吟和发绀,可有烦躁、萎靡、嗜睡、拒食等。
3.影像学检查。
(1)胸片。一般状况良好的门诊患儿可不进行胸片检查,对改善预后无明显影响。当病情严重或考虑有并发症或临床表现不典型者,需早期行胸片检查。
(2)CT。不推荐常规行胸部CT检查,有以下情况时建议行低剂量胸部CT检查:临床表现与胸片不一致;怀疑气道和肺部畸形、有严重并发症等情况时;疗效不佳,需要除外其他疾病如间质性肺疾病、肺结核等。一般无需进行增强CT检查,?当临床疑诊血管畸形、肺部畸形、肿瘤或评价严重并发症等时,?建议直接进行胸部增强CT扫描。?
4.并发症。
(1)肺内并发症。胸腔积液或脓胸、气胸、肺脓肿、坏死性肺炎、支气管胸膜瘘、急性呼吸窘迫综合征(ARDS)以及急性呼吸衰竭等。
(2)肺外并发症。脓毒症、脓毒性休克、迁延性病灶(心包炎、心内膜炎、脑膜炎、脑脓肿、脓毒症性关节炎、骨髓炎)、病毒性脑病、溶血尿毒综合征等。
(二)鉴别诊断
1.气道疾病。哮喘、气道软化和狭窄合并气道感染、迁延性细菌性支气管炎、肺炎支原体等感染性细支气管炎。根据喘息和肺部喘鸣音对速效支气管扩张剂的反应、有无双相喘鸣音、胸片表现、抗菌药物治疗反应等鉴别。肺炎支原体细支气管炎是近年认识到的一种少见感染类型,大多数有喘息,重者出现呼吸困难,容易遗留闭塞性细支气管炎和支气管扩张后遗症,易与肺炎混淆。
2.非感染性肺部疾病。如吸入性肺炎、弥漫性间质性肺疾病、弥漫性肺泡出血综合征等。根据有无胃肠道疾病、神经肌肉疾病等引起吸入的基础疾病、胸部影像学表现等鉴别吸入性肺炎;根据有无贫血以及弥漫性病变等鉴别弥漫性肺泡出血综合征;根据病史、临床表现以及弥漫性间质病变等鉴别间质性肺疾病。
3.肺结核。包括原发性肺结核、继发性肺结核以及结核性胸膜炎。根据临床表现以及影像学有无纵膈、肺门以及隆突下淋巴结肿大鉴别原发性肺结核;根据临床表现以及影像学有无空洞和支气管播散病灶鉴别继发性肺结核;根据临床表现、胸水检查以及影像学有无肺结核表现和肺实变鉴别结核性胸膜炎。
五、病原学检查
(一)细菌学检查。
1.血和胸水细菌培养。是细菌性肺炎的确诊依据,疑似重症细菌性感染者应尽早进行血培养,合并胸水的患儿应抽取胸水进行细菌涂片检查与培养。
2.痰涂片和培养。有一定的参考价值,是目前临床最常用的方法。痰液必须合格,采用痰液半定量培养方法,如有优势菌生长可考虑为致病菌。
3.支气管肺泡灌洗液细菌培养。是明确细菌性肺炎的重要依据,因是有创性检查方法,不推荐用于所有肺炎的病原检查,对于常规治疗无效的肺炎、非常见的重症肺炎、免疫功能低下等患儿可进行支气管肺泡灌洗液细菌培养。
不推荐咽拭子或鼻咽吸出物细菌培养作为细菌性肺炎的诊断依据。
(二)病毒学检查。
1.鼻咽分泌物病毒抗原检测。通过免疫酶标或免疫荧光技术检测鼻咽部脱落细胞中的病毒抗原,是目前临床最常用的可靠方法,可用于早期快速病原诊断。
2.鼻咽分泌物病毒核酸检测。应用聚合酶链反应技术(PCR)或核酸杂交技术测定脱落细胞中特定病毒的DNA或RNA(逆转录-PCR),可用于早期诊断。
3.血清特异抗体。呼吸道病毒感染后,特异IgM出现较早,因而病毒特异IgM的测定可作为病毒感染快速诊断的参考方法。
(三)肺炎支原体检查。
1.血清学检查。
(1)急性期和恢复期双份血清特异性IgG抗体检测。抗体4倍以上升高是肺炎支原体感染的确诊依据,但无早期诊断价值。
(2)血清特异性IgM抗体检测。推荐颗粒凝集法,IgM>1:160有诊断价值。目前有快速肺炎支原体抗体定性初筛方法,如胶体金法等,对早期诊断有一定特异性,但敏感性不足。
2.肺炎支原体DNA或RNA(PCR)检测。可采集咽拭子或支气管肺泡灌洗液标本进行早期诊断。
六、实验室检查
(一)外周血白细胞数和中性粒细胞比例。
升高常提示细菌性肺炎,特别是革兰阳性球菌肺炎,是初步鉴别细菌感染以及判断病情轻重的最基本指标。但重症细菌感染时,白细胞数和中性粒细胞比例可明显下降,可有核左移。在细菌感染早期和轻症细菌感染时可以正常,病毒感染时也可升高,多数难治性支原体肺炎中性粒细胞比例升高。
(二)C反应蛋白(CRP)。
起病1—3天内升高常提示细菌性肺炎,升高程度与感染严重度密切相关,有效治疗后可下降,是鉴别细菌感染、判断病情轻重以及评估治疗反应最常用的指标。但细菌感染早期、轻症感染或迁延性细菌感染时可以正常,多数难治性支原体肺炎尤其是重症,CRP多在起病3—4天后升高。重症病毒感染如流感病毒、腺病毒肺炎等也可在病程中升高。
(三)降钙素原(PCT)。
升高是判断细菌性肺炎以及是否合并脓毒症的很好指标,但仍有其局限性,轻度细菌感染者可正常。
(四)其他。
住院病人可进行血气分析、肝肾功能、电解质等检查,怀疑A群链球菌感染者可进行抗“O”检查。?
虽然上述炎性指标在细菌、病毒以及支原体感染之间有一定重叠,特异性不足,且国内检测CRP和PCT的方法不尽统一,目前尚无统一的判断折点,但在病程早期,特别是1—3天内炎性指标明显升高对重症细菌性肺炎的判断以及抗菌药物的使用具有较大的参考意义,对于评估治疗反应也具有一定的参考价值。?
七、病情判断和入院标准
(一)病情判断。
当肺炎患儿出现严重的通换气功能障碍或肺内外并发症时,即为重症肺炎。重症肺炎病死率高,并可遗留后遗症,需及早识别,推荐以下判断指标。
1.快速评估。2月龄~5岁以下的儿童,需在家庭、门急诊进行快速临床评估,以便将门急诊和院前阶段存在潜在风险的肺炎危重症患儿早期识别出来,可使用WHO标准。即出现下胸壁吸气性凹陷、鼻翼扇动或呻吟之一表现者,为重症肺炎;出现中心性紫绀、严重呼吸窘迫、拒食或脱水征、意识障碍(嗜睡、昏迷、惊厥)之一表现者,为极重度肺炎。在临床实践中,也要结合面色和精神反应分析,若出现面色苍白或发灰,对周围环境反应差也视为重症表现。
2.病情严重度需根据年龄、临床和影像学表现等评估,见表1。
表1??儿童CAP病情严重度评估

注:炎性指标可以作为评估严重度的参考
(二)病情判断时需注意以下问题。
1.识别重症肺炎的高危因素。
(1)有基础疾病史:包括先天性心脏病、支气管肺发育不良、呼吸道畸形、遗传代谢疾病、脑发育不良、神经和肌肉疾病、免疫缺陷病、贫血、II?度以上营养不良、既往有感染史、严重过敏或哮喘史、早产史、既往住院史、慢性肝肾疾病等;
(2)小于3个月婴儿;
(3)经积极治疗,病情无好转,病程超过1周。存在这些情况的患儿,病情可在短时间内进展为重症肺炎,合并基础疾病者,病死率高。
2.判断潜在的基础疾病。即使患儿初诊时未提供明确的基础疾病史,仍需对每例患儿详细询问病史和查体,注意营养和体格发育以及神经系统异常等,以判断有无基础疾病。
(三)入院标准。
受各地经济和文化差异、家长对疾病认知度和护理能力等因素影响,不同区域、不同级别医院的入院标准不能完全统一,但符合以下情况需住院:
1.符合重症肺炎标准。
2.存在重症肺炎高危因素。在一、二级医院应住院,三级医院可在门诊随诊,需密切观察并告知家长护理观察要点;
3.家庭不能提供观察和监护者。
八、治疗原则
(一)轻症肺炎。一般无需住院,可不进行病原体检查。
(二)病毒性肺炎。轻症病人或发病初期无细菌感染指证者,应避免使用抗菌药物。
(三)重症肺炎。在抗菌药物应用之前,尽早行病原学检查以指导目标治疗。
(四)抗菌药物使用。安全有效为原则。根据药代动力学、药效学、组织部位浓度以及副作用等选择。重症肺炎应用抗菌药物时剂量可适当加大,有条件可测定血药浓度。
(五)防止院内感染。除流感病毒肺炎外,腺病毒肺炎、呼吸道合胞病毒肺炎也可在病房传播,应注意病房隔离和消毒,实施手卫生等措施,避免院内感染。
九、经验性抗感染治疗推荐
应根据年龄、发病季节、流行病学、临床和影像学表现特点、病情严重度、有无基础疾病以及实验室检查等综合分析可能的病原,重点是及早经验性识别出潜在的重症细菌性肺炎、重症难治性支原体肺炎、腺病毒肺炎以及流感病毒肺炎等,实施针对性经验治疗,以降低病死率和减少后遗症。
(一)怀疑细菌性肺炎。
1.存在致命性并发症者。如脓毒症、脓毒性休克等,推荐糖肽类抗生素或利奈唑胺,必要时联合头孢菌素/加酶抑制剂或4代头孢菌素或碳青霉烯类抗生素。一旦病原体明确,需及早进行目标治疗。
2.存在非致命性并发症者。存在大叶肺实变合并胸腔积液,或伴有肺坏死或脓肿、起病1—3天内炎性指标明显升高者:推荐使用头孢曲松或头孢噻肟。若当地流行病学提示侵袭性肺炎链球菌存在对头孢曲松或头孢噻肟耐药菌株或疗效不佳时或可疑SA肺炎尤其是MRSA,推荐使用糖肽类抗生素或利奈唑胺。若考虑革兰阴性、产ESBLs细菌感染可能时,推荐使用头孢菌素/加酶抑制剂、第4代头孢菌素等,也可应用亚胺培南、美罗培南等。
3.无上述表现者。根据病情和胃肠道耐受等情况,口服或静脉应用阿莫西林或阿莫西林/克拉维酸,第1、2代头孢菌素,必要时第3代头孢菌素,但第3代头孢菌素需覆盖肺炎链球菌。怀疑革兰阴性细菌,但产ESBLs菌的可能性不大者,首选以抗革兰阴性杆菌为主的第3代头孢菌素或头霉素类。
(二)怀疑支原体肺炎。根据病情,可口服或静脉应用大环内酯类抗菌药物治疗。8岁以上患儿也可选择多西环素或米诺环素。高度怀疑重症难治性支原体肺炎时,因在病程7—10天内合并耐药细菌感染的可能性很低,不建议联合使用糖肽类抗生素、利奈唑胺以及碳青霉烯类抗生素,可根据病程、临床和影像学表现、治疗反应以及炎性指标的动态变化,联合或不联合第2、3代头孢类药物。
(三)怀疑病毒性肺炎。可疑流感病毒肺炎,应尽可能在48小时内给予抗流感病毒治疗,不必等待流感检测结果阳性。可疑其他病毒性肺炎,无特效抗病毒药物,可根据病情、病程以及有无混合感染证据等,确定是否应用抗菌药物。
十、病原针对性治疗推荐
(一)常见细菌性肺炎。
1.肺炎链球菌。青霉素敏感SP首选青霉素或阿莫西林;青霉素中介SP仍可以选用青霉素,但剂量需要加大,或阿莫西林、第1,2代头孢菌素,备选头孢曲松、头孢噻肟。对于感染青霉素高耐药SP,或有肺大叶实变、坏死性肺炎、肺脓肿的患儿,首选头孢曲松、头孢噻肟,备选万古霉素或利奈唑胺。
2.金黄色葡萄球菌。MSSA首选苯唑西林或氯唑西林,备选第1、2代头孢菌素。CA-MRSA首选万古霉素,或替考拉宁、利奈唑胺或联合夫西地酸。
3.流感嗜血杆菌。首选阿莫西林/克拉维酸、氨苄西林/舒巴坦或阿莫西林/舒巴坦,对氨苄西林耐药时可以选用头孢呋辛或头孢曲松等,或新一代大环内酯类抗菌药物,如阿奇霉素、克拉霉素等。
4.肠杆菌科细菌。大肠埃希菌:首选第3代或第4代头孢菌素或哌拉西林或头孢哌酮/舒巴坦、头霉素类、哌拉西林/他唑巴坦;产ESBLs菌轻、中度感染者首选头孢哌酮/舒巴坦、哌拉西林/他唑巴坦。重症感染或其他抗菌药物治疗,疗效不佳时选用厄他培南、亚胺培南、美罗培南,若对亚胺培南或美罗培南耐药,可根据药敏选择β-内酰胺类以外抗菌药物。产AmpC酶细菌感染者可首选头孢吡肟,备选亚胺培南、美罗培南和帕尼培南。
5.肺炎克雷伯杆菌。同大肠埃希菌。目前在儿科肺炎克雷伯菌对碳青霉烯类抗生素耐药率明显高于大肠埃希菌,可根据药敏,选择β-内酰胺类以外抗菌药物,并需要联合抗生素治疗。
(二)非典型病原体肺炎。
1.肺炎支原体肺炎。
(1)大环内酯类抗菌药物。大环内酯类抗菌药物包括第1代红霉素,第2代阿奇霉素、克拉霉素、罗红霉素。首选阿奇霉素:10?mg/(kg·d),qd,轻症3?天为1个疗程,重症可连用5~7?天,2—3天后可重复第2个疗程;但婴儿使用阿奇霉素,尤其是静脉制剂要慎重。红霉素:20~30mg/(kg·d),疗程10~14?天,严重者可适当延长。停药依据临床症状、影像学表现以及炎性指标决定,不宜以肺部实变完全吸收、抗体阴性或MP-DNA转阴作为停药指征。
(2)非大环内酯类抗菌药物。四环素类、氟喹诺酮类药物对MP有强大抑菌活性与临床疗效。四环素类包括多西环素、米诺环素(美满霉素)等,因可能导致牙齿发黄或牙釉质发育不良等不良反应,应用于8岁以上患儿。氟喹诺酮类抗生素可用于已经明确的重症难治性支原体肺炎,因可能对骨骼发育产生不良影响,18岁以下儿童使用受到限制,使用此类药物应进行风险/利益分析。
2.衣原体肺炎。首选大环内酯类抗生素。红霉素剂量为40mg/kg.d,疗程2~3周。或罗红霉素,阿奇霉素,克拉霉素。
3.嗜肺军团菌肺炎。早期应用红霉素,剂量50mg/kg.d,疗程至少3周;或者阿奇霉素、左氧氟沙星。应用氟喹诺酮类抗生素应进行风险/利益分析。
(三)常见病毒性肺炎。
1.流感病毒。详见《流行性感冒诊疗方案(2018年版修订版)》。
2.腺病毒。目前尚无特效抗病毒药物。对于重症腺病毒感染,可应用激素及丙种球蛋白等治疗。
十一、呼吸支持
(一)保持气道通畅。保持颈部适度伸展,清理口鼻咽分泌物,维持气道通畅。咳嗽乏力致气道分泌物不易排出影响通气时,行气管插管或气管切开。
(二)普通氧疗指征。有低氧血症者应给予氧疗。患儿呼吸急促、呼吸困难、紫绀、三凹征阳性均为氧疗指征。可用鼻导管、面罩、头罩吸氧。
(三)无创通气。儿科常用无创通气模式为持续气道正压通气(continuous?positive?airway?pressure,CPAP)和双水平气道正压通气(Bilevel?positive?airway?pressure,BiPAP)。无创通气指征:
1.轻至中度呼吸困难。表现为呼吸急促,辅助呼吸肌用力,出现三凹征及鼻翼扇动。
2.动脉血气异常。PH值<7.35,PaCO2>45?mmHg或动脉血氧分压/吸入氧浓度(PaO2/FiO2)<300?mmHg。
注:需密切监护判断疗效,避免因无创通气而延误气管插管时机。应用无创通气1~2?小时后病情无好转,应及时气管插管机械通气。
(四)有创机械通气。普通氧疗或无创通气后通气氧合无改善,需行机械通气。机械通气指征:
1.严重低氧血症。吸氧浓度>50%,而PaO2<50?mmHg。
2.二氧化碳潴留。PaCO2>70?mmHg。
3.呼吸困难。呼吸困难明显,气道分泌物不易清除。
4.频繁呼吸暂停。对合并呼吸窘迫综合征者应采用小潮气量的肺保护性通气策略。
(五)体外膜肺。重症肺炎合并急性呼吸窘迫综合征经机械通气等治疗无改善,可考虑体外膜肺(extracorporeal?membrane?oxygenation,?ECMO)治疗。ECMO指征:
1.动脉血氧分压/吸入氧浓度(P/F)<60-80mmHg;
2.氧合指数。OI>40(OI=平均气道压(cmH2O)×FiO2(%)×100÷PaO2(mmHg))。
3.高平均气道压(cmH2O)。常频通气:>20-25,高频振荡通气:>30。
4.有医源性压力肺损伤证据。
5.持续性呼吸性酸中毒(pH<7.1)。
注:如心功能尚好,选用静脉-静脉模式ECMO,尽量在机械通气后7天内实行。
十二、对症治疗
根据需要进行退热、祛痰、平喘等对症治疗。
十三、辅助治疗
(一)糖皮质激素。不推荐常规使用。存在下列情况之一者可考虑短期应用:重症难治性支原体肺炎、A组链球菌肺炎、重症腺病毒肺炎等;难治性脓毒症休克、病毒性脑病、急性呼吸窘迫综合征;哮喘或有喘息。?
(二)丙种球蛋白。不推荐常规使用。存在下列情况之一者可考虑应用:部分重症细菌性肺炎,如CA-MRSA肺炎;支原体肺炎并发多形性渗出性红斑、脑炎等肺外表现;免疫缺陷病,尤其是丙种球蛋白减少或缺乏;重症腺病毒肺炎等。
(三)支气管镜检查和治疗。不推荐常规使用。存在下列情况之一者可考虑应用:经常规治疗效果不佳或难治性肺炎,需观察有无气管软化、狭窄、异物阻塞、结核病变或肺泡出血等表现,并留取灌洗液进行病原学分析;炎性分泌物或坏死物致气道阻塞或肺不张时需及时清除,如难治性支原体肺炎、腺病毒肺炎和流感病毒肺炎等引起气道大量分泌物,甚至形成塑型物阻塞、粘膜坏死等。感染后气道损伤诊断:难治性支原体肺炎、腺病毒肺炎、麻疹病毒肺炎和流感病毒肺炎等可引起气道软骨破坏、气道闭塞等气道结构改变,可通过支气管镜下表现诊断和治疗。
十四、中医药治疗
(一)风热闭肺证。
本证候多见于肺炎初期的患儿。
主症:发热,咳嗽,气急,咽红。
舌脉:舌红,苔薄黄,脉浮数,指纹浮紫。
治法:辛凉开闭,宣肺止咳。
基本方药:银翘散合麻杏石甘汤加减(金银花、连翘、炙麻黄、炒杏仁、生石膏、芦根、鱼腥草、甘草)
加减:咳嗽痰多,加川贝母、瓜蒌皮、天竺黄。
常用中成药:银黄类制剂、麻杏石甘汤类制剂、胆木类制剂。
(二)风寒闭肺证。
本证候多见于肺炎初期的患儿。
主症:恶寒发热,呛咳气急,无汗。
舌脉:舌淡红,舌苔薄白,脉浮紧,指纹浮红。
治法:辛温开闭,宣肺止咳。
基本方药:华盖散加减(炙麻黄、炒杏仁、苏子、陈皮、茯苓、白前、甘草)
加减:口渴心烦者,加炒栀子;痰黄稠者,加炙桑白皮、黄芩。
常用中成药:通宣理肺类制剂、小青龙类制剂。
(三)痰热闭肺证。
本证候多见于肺炎极期或重症患儿。
主症:高热不退,咳嗽,气急鼻扇,痰黄粘稠,面赤口渴。
舌脉:舌红,苔黄腻,脉滑数。
治法:清热涤痰,开肺定喘。
基本方药:五虎汤合葶苈大枣泻肺汤加减(炙麻黄、炒杏仁、生石膏、细茶、葶苈子、莱菔子、瓜蒌、鱼腥草、甘草)
加减:便秘,喘急,加生大黄;面唇青紫者,加丹参、桃仁;低热羁留,咳喘痰鸣,改用泻白散加味。
常用中成药:麻杏石甘汤类制剂、葶苈大枣泻肺类制剂、胆木类制剂。
(四)湿热闭肺证。
主症:病程缠绵,发热咳喘,纳呆,便溏不爽。
舌脉:舌苔黄厚腻,脉滑数。
治法:清热祛湿,化痰开闭。
基本方药:甘露消毒丹合三仁汤加减(茵陈、藿香、炒杏仁、薏苡仁、白豆蔻、连翘、黄芩、青蒿)
常用中成药:甘露消毒丹类制剂、清热利湿类制剂。
(五)毒热闭肺证。
本证候多见于肺炎极期或重症患儿。
主症:高热炽盛,咳嗽喘憋,烦躁口渴,涕泪俱无,小便短黄,大便秘结。
舌脉:舌红芒刺,苔黄糙,脉洪数。
治法:清热解毒,泻肺开闭。
基本方药:黄连解毒汤合麻杏石甘汤加减(黄连、黄芩、炒栀子、炙麻黄、炒杏仁、生石膏、知母、芦根、甘草)
加减:高热不退,加虎杖、水牛角、丹皮。
常用中成药:麻杏石甘汤类制剂、胆木类制剂。
(六)虚实夹杂。
本证候多见于难治性肺炎。
主症:病程较长,咳嗽缠绵,喉中痰鸣,或低热持续,面白少华,易汗,纳差,便溏。
舌脉:舌质淡或暗,舌苔厚腻,脉细无力。
治法:扶正祛邪。
基本方药:六君子汤合桃红四物汤(党参、白术、茯苓、法半夏、陈皮、桃仁、红花)
加减:高热咳甚者,可酌情加用羚羊清肺散。
常用中成药:千金苇茎汤类、六君子汤类制剂、桃红四物类。
(七)阴虚肺热证。
本证候多见于肺炎恢复期的患儿。
主症:病程较长,干咳少痰,低热盗汗,面色潮红,五心烦热。
舌脉:舌质红乏津,舌苔花剥、少苔或无苔,脉细数。
治法:养阴清肺,润肺止咳。
基本方药:沙参麦冬汤加减(沙参、麦冬、百合、百部、玉竹、枇杷叶、五味子)
加减:久咳,加诃子、白屈菜。
常用中成药:养阴清肺类制剂。
(八)肺脾气虚证。
本证候多见于肺炎恢复期的患儿。
主症:咳嗽无力,喉中痰鸣,面白少华,多汗,食欲不振,大便溏。
舌脉:舌质偏淡,舌苔薄白,脉细无力。
治法:补肺健脾,益气化痰。
基本方药:人参五味子汤加减(人参、白术、茯苓、五味子、麦冬、陈皮、法半夏、甘草)
加减:多汗,加黄芪、煅牡蛎。
常用中成药:四君子汤类制剂、玉屏风类制剂。
注:
1.根据患儿年龄、体质及病情轻重斟酌处方药物用量。
2.为促进肺部炎症吸收,可配合外用中药贴敷于胸背部。
十五、并发症评估以及治疗方案
(一)脓毒症、脓毒性休克、病毒性脑病、脑膜炎等。按相应的疾病处理。
(二)脓胸和气胸。中大量胸腔积液和气胸应进行胸腔闭式引流。如果脓胸合并肺实变,尤其是坏死性肺炎,不建议过早应用胸腔镜清创。
(三)肺切除。坏死性肺炎合并脓气胸者,肺部病变大多能恢复正常,除外合并畸形或者出现内科难以治疗的并发症如支气管胸膜瘘、张力性气胸等,一般应避免行肺叶切除手术。
十六、治疗效果评估及疗程推荐
(一)效果评估。
1.初次评估。重症患者初始治疗后1~2小时应作病情和疗效评估。重点观察体温、全身状况以及缺氧征等是否改善。
2.再次评估。所有患者经48~72小时治疗症状无改善或一度改善又恶化,应再次进行临床或/和实验室评估,并考虑如下问题:(1)抗生素未能覆盖致病菌;(2)抗生素剂量不足或存在影响抗生素疗效的因素;(3)细菌耐药或者合并其他感染;(4)存在基础疾病,包括气道问题;(5)出现并发症;(6)药物热;(7)非感染性肺炎,如间质性肺疾病、血管炎、肿瘤等少见疾病。
(二)疗程推荐。
门诊患儿治疗的疗程一般为5~7?天。非侵袭性SP肺炎总疗程7~10?天,Hi肺炎、MSSA肺炎总疗程14?天左右,侵袭性或坏死性SP肺炎、坏死性MSSA肺炎伴脓胸、MRSA肺炎伴脓胸时总疗程可延长至21~28?天,甚至更长。革兰阴性肠杆菌肺炎总疗程14?天左右。一般MP肺炎总疗程10?~14?天,难治性支原体肺炎尤其是肺大叶实变者,疗程适当延长。
十七、儿童社区获得性肺炎预防
(一)一般预防。
注意开窗通风,少到人口密集和通风条件差的场合,避免与呼吸道感染患者密切接触。
(二)疫苗接种。
推荐流感病毒疫苗、SP疫苗、b型流感嗜血杆菌结合疫苗(Hib)接种。
十八、原发性免疫缺陷者社区获得性肺炎的治疗
免疫缺陷病类型不同,易感的病原体各异。根据免疫缺陷病的类型经验使用抗生素,并积极进行病原体检查。对于免疫缺陷类型尚未确定的重症肺炎患者,抗感染药物应广覆盖可能病原体,之后再根据病情和病原体检查结果调整。
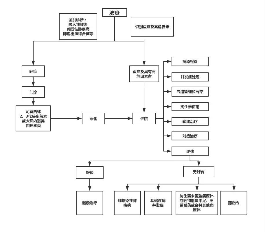
十九、儿童社区获得性肺炎诊疗流程图

邮政编码:200052 电话:021-63800152 传真:021-63800151 京ICP备15010734号-10 技术:网至普网站建设